На информационном ресурсе применяются cookie-файлы. Оставаясь на сайте, вы подтверждаете свое согласие на их использование.
Ехал по трассе из Академа в Кольцово в районе 18 часов. Проезжл мимо остановки "Общество дубрава" в следующей ситуации - первый ваз 21111, за ним Хонда црв, за ней я на тойоте. Двигались по одной полосе, слева - двойная сплошная, справа начался карман для остановки автобуса, отделенный сплошной разделительной. Ваз 21111 взял правее, заехав на полосу для автобусов, хонда и я, не меняя своей полосы проехали мимо него. Через 600 метров останавливают всех троих инспектора ГИБДД. Первые слова инспектора обращены к Вазовцу - Вы, мол, пересекли сплошную и заехали на полосу для движения МТ. Вазовец от всего отказывается. Инспектор пишет протокол, в котором я и хондовец якобы обогнали вазовца, причем с выездом на встречку. Вазовец радостно подписывает и уезжает. Водитель хонды полчаса сидит в машине инспекторов и тоже уезжает. Зовут меня, зачитывают протокол вазовца, в котором я, якобы, его обогнал по встречке. Пишут мой протокол...Минут через 20 возвращается хонда и гаишник выходит к ней...непродолжительная беседа и он возвращается. Я спрашиваю, будут ли предъявлены обвинения хондовцу, говорит что да, будут. Все разговоры с ними я писал на диктофон. У меня изымают права, при понятых. В протоколе пишу, что не согласен и как было на самом деле. На схеме тоже пишу, что не согласен.
На все мои слова ответ один - мы видели как ты пересекал(в 18-15 уже темнело и расстояние 600метров!!!???), ваз свидетель.
Вот и думаю, как теперь отстоять свою правоту...
Записал номера машин участников, попробую поискать - Кольцово не большой...Но думаю, что хондовец дал денег (иначе зачем возвращался), ну а вазовец всяко против себя не покажет...а может и вобще подставной, так что будте внимательны с ваз 21111 гос номер к950ее серого цвета.
Нужен совет, стоит ли пытаться в суде что-то доказывать или это дохлый номер?

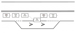
вот схема движения
или смотрите прикрепленный файл
На все мои слова ответ один - мы видели как ты пересекал(в 18-15 уже темнело и расстояние 600метров!!!???), ваз свидетель.
Вот и думаю, как теперь отстоять свою правоту...
Записал номера машин участников, попробую поискать - Кольцово не большой...Но думаю, что хондовец дал денег (иначе зачем возвращался), ну а вазовец всяко против себя не покажет...а может и вобще подставной, так что будте внимательны с ваз 21111 гос номер к950ее серого цвета.
Нужен совет, стоит ли пытаться в суде что-то доказывать или это дохлый номер?

вот схема движения
или смотрите прикрепленный файл
готовься к долгому разбирательству. Мировой судья тебя даже слушать не будет, а вот федеральный выслушает и возможно оправдает.
Схему подписал? Если да, то очень сложно будет доказать.
Если схемы не было, то пусть идут лесом. Ничего не докажут.
Схему подписал? Если да, то очень сложно будет доказать.
Если схемы не было, то пусть идут лесом. Ничего не докажут.
Если честно, выглядит как подстава 
Еще и ЦРВ на транзитах

Еще и ЦРВ на транзитах
Бл#, вазовцу за нарушение - штраф 100рэ, а он других под лишение подвёл. Чистить "табло" вазовцу, пусть рассказывает всё как было.
Micha_Burmistrov
v.i.p.
готовься к долгому разбирательству. Мировой судья тебя даже слушать не будет,ну что за глупости говорите, все они слушают
и чаще всего берут на понт, главное отстаивать свою точку зрения до конца, и быть морально сильнее судьи
Micha_Burmistrov
v.i.p.
Чистить "табло" вазовцу,ОФФ: опять во всем АвтоТАЗ виноват

Очень похоже, что этот перекресток стал для гайцев местом для развода...
Уже несколько раз за короткое время на том перекрестке машину ДПС встречал. Вечерами.
Думал поначалу, что они мышкуют, когда там летунов не так уж и много. Потом про сплошную мысль пришла.
Вазовца искать, да. И общаться. Культурно.
Да и еще... Службу безопасности никто не отменял.
Уже несколько раз за короткое время на том перекрестке машину ДПС встречал. Вечерами.
Думал поначалу, что они мышкуют, когда там летунов не так уж и много. Потом про сплошную мысль пришла.
Вазовца искать, да. И общаться. Культурно.
Да и еще... Службу безопасности никто не отменял.
Сейчас читают
Обсуждение кандидатов - 2011
142151
1000
Ремонт электропечи, кто?
1480
12
радостный дозор!
113986
1000
Первые слова инспектора обращены к Вазовцу - Вы, мол, пересекли сплошную и заехали на полосу для движения МТ. Вазовец от всего отказывается. Инспектор пишет протокол, в котором я и хондовец якобы обогнали вазовца, причем с выездом на встречку. Вазовец радостно подписывает и уезжает.Вазовец русый, круглолицый, коренастый, роста среднего или чуть выше, возраста неопределенного... Лет 35-45.
Похож?
Номер знакомым мне кажется...
Вазовца искать, да. И общаться. Культурно....и писать общение с Вазовцем на диктофон, искать Хонду - общаться и тоже писать. При общении излагать обстоятельства максимально развернуто, чтобы постороннему слушателю вся ситуация становилась понятной.
Да и еще... Службу безопасности никто не отменял.
А что предъявлять в службу СБ? Денег не требовали, свидетель есть...Или просто жалобу писать с изложением событий?
[цитатаВазовец русый, круглолицый, коренастый, роста среднего или чуть выше, возраста неопределенного... Лет 35-45.
Похож?
Номер знакомым мне кажется...
не уверен насчет того русый или нет...уже темнело, да и не запомнил как-то....ничего ведь не нарушил, я и не думал что до лишения дойдет
Похож?
Номер знакомым мне кажется...
не уверен насчет того русый или нет...уже темнело, да и не запомнил как-то....ничего ведь не нарушил, я и не думал что до лишения дойдет
Засаду с видеокамерой устроить на том же месте, глядишь и знакомый тазик объявится, а может даже представится возможность с такими же потерпевшими как вы пообщаться, тогда коллективную накатаете.
Засаду с видеокамерой устроить на том же месте, глядишь и знакомый тазик объявится, а может даже представится возможность с такими же потерпевшими как вы пообщаться, тогда коллективную накатаете.до 12 ноября (суд) времени достаточно, так что думаю подежурю несколько дней с камерой
HexOgeN
автоманьяк
опыту по собственному говорю я!готовься к долгому разбирательству. Мировой судья тебя даже слушать не будет,ну что за глупости говорите, все они слушаюти чаще всего берут на понт, главное отстаивать свою точку зрения до конца, и быть морально сильнее судьи
![]()
+1
мировым по барабану. как будто у них план по лишениям
мировым по барабану. как будто у них план по лишениям
схема какая-то у Вас странная... Карман что-ли двойной сплошной отделён? Глупости. Очень странная схема.
Может там было какое-то сужение дороги и Вы-таки выехали ненароком на встречку и не заметили? Съездите туда, посмотрите внимательнее. Или выложите нормальную схему. У вас нарисована двухполосная (не 4-х) дорога с местным уширением (карманом). На 2-х полосных разметку 1.3 (две сплошных) не рисуют
Может там было какое-то сужение дороги и Вы-таки выехали ненароком на встречку и не заметили? Съездите туда, посмотрите внимательнее. Или выложите нормальную схему. У вас нарисована двухполосная (не 4-х) дорога с местным уширением (карманом). На 2-х полосных разметку 1.3 (две сплошных) не рисуют
как будто у них план по лишениямНе может быть


Они это не скрывают. Потому что их слова все равно в протокол не попадут, а вот вам должно быть ясно, кто вы есть и где искать справедливость.
На схеме тоже пишу, что не согласен.А что нарисовано в схеме, Вы помните?
Если схема составлена с нарушениями правил составления таких документов - она не может рассматриваться судом. То что Вы написали "не согласен" на схеме и протоколе - это хорошо. Теперь на первом заседании лучше всего дать ходатайство на ознакомление (фотографирование, копирование) с материалами дела и просьбой переноса. Когда Вы увидите, что у них на руках - можно будет понять, как строить защиту. И сможете проконсультироваться по этому делу - на форумах, у знакомых, у юристов и т.д. А пока материалов дела нет - сложно что-то советовать.
З.Ы. Видеозапись ежедневного обгона этого ВАЗа по аналогичному сценарию на суд никакого впечатления не произведет. Потому что эти видеозаписи не относятся к Вашему делу.
схема какая-то у Вас странная... Карман что-ли двойной сплошной отделён? Глупости. Очень странная схема.у нас на дорогах рисуют что угодно...это не карман по сути, перед ним стоит знак 5.15.3 начало полосы...
Может там было какое-то сужение дороги и Вы-таки выехали ненароком на встречку и не заметили? Съездите туда, посмотрите внимательнее. Или выложите нормальную схему. У вас нарисована двухполосная (не 4-х) дорога с местным уширением (карманом). На 2-х полосных разметку 1.3 (две сплошных) не рисуют
то есть дальше уже две полосы, но на правой буква А - для движения МТ...и вдоль левой полосы на всем этом участке двойная
Спасибо за участие.На схеме тоже пишу, что не согласен.А что нарисовано в схеме, Вы помните?
Если схема составлена с нарушениями правил составления таких документов - она не может рассматриваться судом. То что Вы написали "не согласен" на схеме и протоколе - это хорошо. Теперь на первом заседании лучше всего дать ходатайство на ознакомление (фотографирование, копирование) с материалами дела и просьбой переноса. Когда Вы увидите, что у них на руках - можно будет понять, как строить защиту. И сможете проконсультироваться по этому делу - на форумах, у знакомых, у юристов и т.д. А пока материалов дела нет - сложно что-то советовать.
З.Ы. Видеозапись ежедневного обгона этого ВАЗа по аналогичному сценарию на суд никакого впечатления не произведет. Потому что эти видеозаписи не относятся к Вашему делу.
не знаю правил составления схем, на листе в клеточку рисовал ручкой...лист вроде официальный...на этой схеме я совершаю обгон с выездом на встречку....про хонду вобще ни слова и ни штриха
152-ФЗ
guru
быть морально сильнее судьиБыть морально сильнее судьи очень сложно.![]()

Насчет общения с СБ попробуй обратиться к Тайцу. Если мне память не изменяет, именно у него были склизкие эпизоды на дороге из разряда нашумевших на Автофоруме, и последующее плотное общение с гайцами, из которых Таец в итоге выходил благополучно.
Или к юристам. Потому, что в той ситуации, которую ты описал, у гайцев получается нестыковочка, которая может сыграть тебе на руку.
Они составляют протокол (копию его лучше бы достать до суда, т.к неизвестно что они там написали на самом деле) на вазовца за выезд на автобусную полосу. Значит, гайцы видели это.
Сразу встает вопрос, по каким причинам в этом случае они остановили тебя и хонду? Нарушение скоростного режима вам не инкриминируют. Если вазовец едет по правой, то вам и повода шарахаться на встречку нет. Или о выезде на встречку сразу же и было объявлено после остановки?
Странная в таком случае ситуация получается. Один направо, двое других налево. Все трое типа бараны, и одни только гайцы в белом. Жирновато как-то для них.
Или к юристам. Потому, что в той ситуации, которую ты описал, у гайцев получается нестыковочка, которая может сыграть тебе на руку.
Они составляют протокол (копию его лучше бы достать до суда, т.к неизвестно что они там написали на самом деле) на вазовца за выезд на автобусную полосу. Значит, гайцы видели это.
Сразу встает вопрос, по каким причинам в этом случае они остановили тебя и хонду? Нарушение скоростного режима вам не инкриминируют. Если вазовец едет по правой, то вам и повода шарахаться на встречку нет. Или о выезде на встречку сразу же и было объявлено после остановки?
Странная в таком случае ситуация получается. Один направо, двое других налево. Все трое типа бараны, и одни только гайцы в белом. Жирновато как-то для них.
А я понял так (если ВАЗовец не подстава)
ВАЗ садится в машину, ему предъявляют 12.15-1 (штраф) или даже 12.15-4 (лишение), но предлагают помочь наказать нарушителей (протокол исчезает, но он свидетель по 12.15-4, дважды).
ВАЗовец радостно подписывают, что ему там подсунули (кошелек цел. права не месте, всего-то одна подпись).
Он правда еще не знает, что его можно (и даже нужно) вызвать на суд, он же свидетель, так пусть расскажет суду, как оно было на самом деле. Этот свидетель подписал схему нарушения? И что он в протоколе написал? В качестве кого вписан в протокол?
Так что этого ВАЗовца - в любом случае на суд надо вызывать, это важно, это не заинтересованный свидетель.
А вот по нарушению ВАЗа (так как это описал ТС) - действительно 100р., нарушение разметки и/или дорожных знаков, не повлекшее выезд на встречную полосу.
ВАЗ садится в машину, ему предъявляют 12.15-1 (штраф) или даже 12.15-4 (лишение), но предлагают помочь наказать нарушителей (протокол исчезает, но он свидетель по 12.15-4, дважды).
ВАЗовец радостно подписывают, что ему там подсунули (кошелек цел. права не месте, всего-то одна подпись).
Он правда еще не знает, что его можно (и даже нужно) вызвать на суд, он же свидетель, так пусть расскажет суду, как оно было на самом деле. Этот свидетель подписал схему нарушения? И что он в протоколе написал? В качестве кого вписан в протокол?
Так что этого ВАЗовца - в любом случае на суд надо вызывать, это важно, это не заинтересованный свидетель.
А вот по нарушению ВАЗа (так как это описал ТС) - действительно 100р., нарушение разметки и/или дорожных знаков, не повлекшее выезд на встречную полосу.
Номер экипажа помните?
Я надеюсь, что вы будете бодаться и победите! Жаль только что на это уйдет много денег, времени и нервов.
Остальным:
Советы неплохи, указывать на нарушение в составлении, привлекать свидетелей и пр. Вот только, когда гаец говорит "мы видели", за полкилометра до места нарушения, судья выносит решение "лишить" с основанием "нет причин не доверять инспектору". За последние 2 месяца наблюдал 2 таких случая в советском районе. Без факта нарушения люди были лишены прав. Те кто не смог договорится на месте.
Я надеюсь, что вы будете бодаться и победите! Жаль только что на это уйдет много денег, времени и нервов.
Остальным:
Советы неплохи, указывать на нарушение в составлении, привлекать свидетелей и пр. Вот только, когда гаец говорит "мы видели", за полкилометра до места нарушения, судья выносит решение "лишить" с основанием "нет причин не доверять инспектору". За последние 2 месяца наблюдал 2 таких случая в советском районе. Без факта нарушения люди были лишены прав. Те кто не смог договорится на месте.
как я понял ситуацию:
гайцы начали с предъвления вазовцу за пересечение сплошной и выезд на полосу движения МТ, но быстро сообразили, что тут только штраф 500р (я у них специально спросил про сумму), а нас двоих с хондой под угрозой лишения можно развести и на большие деньги, шансы, что кто-то из нас "оплатит" выше....что судя по всему и сделал хондовец...у вазовца какой-то другой был протокол, чисто внешне, мне его читать не давали, только инспектор зачитал выдержку из него, где говорится что я обгонял с выездом и вазовец это видел...
в моем протоколе про него ни слова
гайцы начали с предъвления вазовцу за пересечение сплошной и выезд на полосу движения МТ, но быстро сообразили, что тут только штраф 500р (я у них специально спросил про сумму), а нас двоих с хондой под угрозой лишения можно развести и на большие деньги, шансы, что кто-то из нас "оплатит" выше....что судя по всему и сделал хондовец...у вазовца какой-то другой был протокол, чисто внешне, мне его читать не давали, только инспектор зачитал выдержку из него, где говорится что я обгонял с выездом и вазовец это видел...
в моем протоколе про него ни слова
Опа..
А ведь в его протоколе на 100р. может быть так, что от нарушил разметку (ушел вправо на полосу МТС), по причине Вашего сумасшедшего обгона по встречке. Если это так и будет - это месть гайцев не выполнивших план по сбору нала?
А ведь в его протоколе на 100р. может быть так, что от нарушил разметку (ушел вправо на полосу МТС), по причине Вашего сумасшедшего обгона по встречке. Если это так и будет - это месть гайцев не выполнивших план по сбору нала?
буду искать людей, которые стояли на остановке....мож что вспомнят и согласятся посвидетельствовать
ПДД. Горизонтальная разметка.
1.3 - разделяет транспортные потоки противоположных направлений на дорогах, имеющих четыре полосы движения и более;
По встречной получается тоже две полосы.
Или разметка нанесена с нарушением ГоСТ?
1.3 - разделяет транспортные потоки противоположных направлений на дорогах, имеющих четыре полосы движения и более;
По встречной получается тоже две полосы.
Или разметка нанесена с нарушением ГоСТ?Я так понимаю, что хонда и тойота праворукие и даже если и наехали на сплошную то даже и не обратили внимание.
Все недомолвки надо было решать на месте.
Хондовец признал на месте свою вину, поэтому я думаю (это моё мнение), что наезд всётаки был.
PS неужели все на форуме ездят четко по правилам и не наезжают на двойную. ДАЖЕ СЛУЧАЙНО?
PSS наказывают не тех кто нарушает а кто попадается
Все недомолвки надо было решать на месте.
Хондовец признал на месте свою вину, поэтому я думаю (это моё мнение), что наезд всётаки был.
PS неужели все на форуме ездят четко по правилам и не наезжают на двойную. ДАЖЕ СЛУЧАЙНО?
PSS наказывают не тех кто нарушает а кто попадается
Номер экипажа помните?Гы... меня не лишили... хотя расстояние было метров 300... и ничего. Друга попытались поймать за "передачу управления автомобилем лицу в нетрезвом состоянии", но столько процессуальных нарушений совершили, что того оправдали.
Я надеюсь, что вы будете бодаться и победите! Жаль только что на это уйдет много денег, времени и нервов.
Остальным:
Советы неплохи, указывать на нарушение в составлении, привлекать свидетелей и пр. Вот только, когда гаец говорит "мы видели", за полкилометра до места нарушения, судья выносит решение "лишить" с основанием "нет причин не доверять инспектору". За последние 2 месяца наблюдал 2 таких случая в советском районе. Без факта нарушения люди были лишены прав. Те кто не смог договорится на месте.
Я так понимаю, что хонда и тойота праворукие и даже если и наехали на сплошную то даже и не обратили внимание.я не наезжаю случайно. Только намеренно и не через лишение. Так что слова "ниочом"!!!!!!!
Все недомолвки надо было решать на месте.
Хондовец признал на месте свою вину, поэтому я думаю (это моё мнение), что наезд всётаки был.
PS неужели все на форуме ездят четко по правилам и не наезжают на двойную. ДАЖЕ СЛУЧАЙНО?
PSS наказывают не тех кто нарушает а кто попадается
З.Ы. Право/леворукость здесь ни при чём... в москве давно были? Там особо модным считается ехать по двойной сплошной левыми колёсами, при чём только по своей половине двойной. Слава богу - у нас не так.
И что, что праворукие? Если не первый день за рулем, то нормальный человек габариты чувствует. Вы на леворукой по обочине правой стороной ездите, когда трясти начинает машину выправляете? Там после кольца, нормально выруливаешь на полосу, кто не спешит или просто не видит разметку едет вдоль обочины до остановке автобусной. Нахрена нарушать разметку, если этого элементарно можно не делать? Хондовод либо решил разрулить на месте, дабы не тратить больше на суды. Либо его просто развели, он не понимая о чём речь решил сразу договариваться по причине указанной выше.
P.S. Я когда начинал ездить старался держаться своей полосы, какой бы поворот не был и не бояться отбойников. Так что сейчас делаю это автоматически. И хрен я выеду на на лишение, зная что наши доблестные могут сидеть за любым кустом.
P.P.S. До смешного доходит, как то ехал поздно вечером по идеальной дороге на которой стоял знак ограничения 30 км. Что то под ложечкой засосало и решил поехать как велят. Стояли, доблестные. Получил моральное удовлетворение наблюдая их рожи проезжая мимо на скорости 20 км/ч
P.S. Я когда начинал ездить старался держаться своей полосы, какой бы поворот не был и не бояться отбойников. Так что сейчас делаю это автоматически. И хрен я выеду на на лишение, зная что наши доблестные могут сидеть за любым кустом.
P.P.S. До смешного доходит, как то ехал поздно вечером по идеальной дороге на которой стоял знак ограничения 30 км. Что то под ложечкой засосало и решил поехать как велят. Стояли, доблестные. Получил моральное удовлетворение наблюдая их рожи проезжая мимо на скорости 20 км/ч
ПДД. Горизонтальная разметка.вечером съездил посмотрел, полосы действительно четыре...с противоположной стороны такой же "карман" и знак 5.15.3 начало полосы
1.3 - разделяет транспортные потоки противоположных направлений на дорогах, имеющих четыре полосы движения и более;
разделительную действительно не пересекал, даже рядом не ехал
Вчера познакомился с тем "вазовцем", поговорил. Так что если надумаешь сам с ним что-то обсудить, пиши в личку.
Когда я давал выше описание, думал, кстати, о другом человеке. Ошибся. Но так как вариантов, почему номер знакомым показался, немного, то нашел эту машину просто по пути.
Когда я давал выше описание, думал, кстати, о другом человеке. Ошибся. Но так как вариантов, почему номер знакомым показался, немного, то нашел эту машину просто по пути.
А до 30-ки знак 50 км\ч был? Если нет то гайцы сами знак поставили и он не по госту установлен. :)))
там знак обгон запрещен был? Тебе приписывают выезд через 2-ную сплошную?
Нет там ни знака ограничения скорости (разрешенная 90), ни запрещения обгона.
Меняет, если ширина полосы узковата... Надо её мерить.
Пожалуй случай еще обидней чем у меня, как спасаться-то, с камерой всегда ездить? 3.14.ц какой-то, густно все это, а наверное воспользуюсь адвокатом, и если случиться еще необоснованный "наезд" буду кричать, звонить, фотографировать и плеваться, задолбали...
Меняет, если ширина полосы узковата... Надо её мерить.меняет, если доказывать,что с вазом на одной полосе разъехались....но он то явно заехал на правую полосу и понятно. что не признается в этом...
Ну на чем можно пытаться цепляться - дорога в том месте, где Вам вменяют АПН по 12.15.4, не является 4-хполосной, ибо:
О, коллеги выше уже отписали - сорри, что повторяюсь тогда...
9.1. Количество полос движения для безрельсовых транспортных средств определяется разметкой и (или) знаками 5.15.1, 5.15.2, 5.15.7, 5.15.8, а если их нет, то самими водителями с учетом ширины проезжей части, габаритов транспортных средств и необходимых интервалов между ними. При этом стороной, предназначенной для встречного движения, считается половина ширины проезжей части, расположенная слева, не считая местных уширений проезжей части (переходно-скоростные полосы, дополнительные полосы на подъем, заездные карманы мест остановок маршрутных транспортных средств).Протокол на нарушение п.9.2 ПДД? Смотрите ГОСТ и применение разметки 1.3. Поэтому выходит, что дорога все-таки там 2-хполосная, поэтому п.9.2 неприменим, ибо он для 4-х и более полосных дорог...
О, коллеги выше уже отписали - сорри, что повторяюсь тогда...

А как отличить "заездной карман" от полосы?
Ибо там стоит знак 5.15.3, говорящий о начале дополнительной полосы, плюс знак 5.14, о том, что там полоса для МТС
Так вот, еще раз, что такое "заездной карман"?
Ибо там стоит знак 5.15.3, говорящий о начале дополнительной полосы, плюс знак 5.14, о том, что там полоса для МТС
Так вот, еще раз, что такое "заездной карман"?
Ибо там стоит знак 5.15.3, говорящий о начале дополнительной полосы, плюс знак 5.14, о том, что там полоса для МТССлушай, ну почитай, плиз, название знака, а:
5.15.3 "Начало полосы"и сравни с тем, что нам пишут в п.9.1, что считается, а что - нет...
Начало дополнительной полосы
на подъеме или полосы торможения.

Так ты упираешь не на то
Там не заездной карман, а переходно-скоростная полоса! Ты не то указал
Там не заездной карман, а переходно-скоростная полоса! Ты не то указал
3.6. Заездной карманВ нашем случае это просто переходно-скоростная полоса
3.6.1. Заездной карман для автобусов устраивают при размещении остановки в зоне пересечения или примыкания автомобильных дорог, когда переходно-скоростная полоса одновременно используется как автобусами, так и транспортными средствами, въезжающими на дорогу с автобусным сообщением.
В нашем случае это просто переходно-скоростная полосаСогласен, но сути того, что дорога в этом месте не становится 4-х полосной и на этом надо строить обжалование, не меняет...
Спасибо за определение заездного кармана! 
Да я и не спорил, что там 4 полосыВ нашем случае это просто переходно-скоростная полосаСогласен, но сути того, что дорога в этом месте не становится 4-х полосной и на этом надо строить обжалование, не меняет...Спасибо за определение заездного кармана!
![]()
ЗЫ Определение кармана взято отсюда
но он то явно заехал на правую полосу и понятно. что не признается в этом...Почему понятно? Чем ему это признание грозит?
100 рублями за 12.16но он то явно заехал на правую полосу и понятно. что не признается в этом...Почему понятно? Чем ему это признание грозит?
ЗЫ Странная разметка все же...
ЗЫ Странная разметка все же...Разметка не странная - странные те, кто разрабатывал и утверждал ПОДД!

ТОП 5
1
4